COMPENSADOR DE NIVEL 311 ENROSCABLE
2,05 € + iva
Hay existencias
Descripción
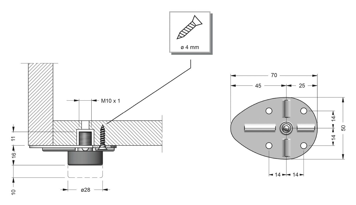
Ajuste: de 0 a 10 mm mediante una llave hexagonal de 4 mm de diámetro.Dimensiones de la base (largo x ancho): 70 x 50 mm. Diámetro del pie ABS: 28 mm.Carga: 400 kg. Base extendida para apoyo en el lateral del mueble y ajuste desplazado, evitando las molestias causadas por las guías laterales.

